Auteur |
Message |
vvernein

Inscrit le: 19 Oct 2008 Messages: 23
|
Posté le: Dim Sep 04, 2016 2:42 pm Sujet du message: localisation d'un plan incliné sur une pièce cylindrique |
|
|
Bonjour, je vous contacte car je remets à jour des plans et j'ai un problème de localisation d'un plan incliné sur une tige cylindrique.
j'ai joins une image montrant la première cotation et la proposition avec des contraintes géométriques , l'orientation sur plan me semble bonne mais la localisation me semble mauvaise.
Peut on tout inclure dans la localisation ?
Merci de m'aiguiller
CDT
vv
| Description: |
|
 Télécharger |
| Nom du fichier: |
cotation_plan_incline.pdf |
| Taille du fichier: |
74.51 Ko |
| Téléchargé: |
1211 fois |
Dernière édition par vvernein le Lun Sep 05, 2016 1:50 pm; édité 1 fois |
|
| Revenir en haut de page |
|
 |
Eric

Inscrit le: 13 Nov 2008 Messages: 182 Localisation: Roanne (42)
|
Posté le: Lun Sep 12, 2016 1:29 pm Sujet du message: |
|
|
Bonjour VV,
J'ai supprimé nos 2 messages qui étaient devenus inutiles...
La localisation n'a pas besoin du défaut d'inclinaison pour pouvoir être définie entièrement, ce sont les fonctions ou les besoins associés à cette pièce qui permettront de choisir les tolérances à mettre au plan.
En revanche, le système de référence de la localisation n'est pas cohérent avec les cotes encadrées (TED) que vous avez indiquées.
Effectivement, il y a une erreur à ce niveau.
Si votre besoin est d'orienter seulement la face par rapport à A, alors la zone de tolérance sera la même avec une inclinaison ou une localisation mais le système de référence est [A] tout seul.
Si votre besoin est de positionner la face par rapport à l'extrémité B mais tout en gardant l'orientation par rapport à A, alors il faut mettre une localisation par rapport à [A|B]. Dans ce cas, si vous avez besoin d'une tolérance d'inclinaison plus précise que la localisation, alors il faut l'ajouter, sinon la localisation suffit.
Enfin, si un blocage en rotation de la zone de tolérance était nécessaire, alors il faudrait faire intervenir une référence supplémentaire.
La première question à se poser est : comment la pièce est-elle mise en position dans son assemblage ?
La deuxième est : à quoi sert le plan incliné au niveau de l'assemblage ?
Cordialement
_________________ Le temps est un mauvais maître mais le meilleur des serviteurs. |
|
| Revenir en haut de page |
|
 |
vvernein

Inscrit le: 19 Oct 2008 Messages: 23
|
Posté le: Lun Sep 12, 2016 3:21 pm Sujet du message: |
|
|
Bonjour , merci pour le menage des posts
La localisation n'a pas besoin du défaut d'inclinaison pour pouvoir être définie entièrement, ce sont les fonctions ou les besoins associés à cette pièce qui permettront de choisir les tolérances à mettre au plan.
--> Je suis d’accord avec vous
En revanche, le système de référence de la localisation n'est pas cohérent avec les cotes encadrées (TED) que vous avez indiquées.
--> je le ressent mais je ne sais pas pourquoi. La cote encadrée tombe en plein milieu d'une face ?
Mon besoin est le suivant . localiser la surface inclinée par rapport à B (je suis conscient que je peux l'orienter et la localiser avec la contrainte de "localisation" mais la tolérance sera la même , sinon in faut dissocier).
Ce qui me dérange c'est de localiser la surface inclinée par rapport à B avec une cote encadrée qui est soit sur une arête (non-mesurable, premier dessin) soit avec la localisation et la TED qui tombe ne plein milieu ce la face.
Si je met une localisation par rapport à [A|B] cela fait un repère orthogonale mais je ne vois pas où mettre la TED pour les raisons évoquées plus haut.
Ou mettre la TED ?
Merci pour vos réponses
cdt
VV [/i]
|
|
| Revenir en haut de page |
|
 |
Eric

Inscrit le: 13 Nov 2008 Messages: 182 Localisation: Roanne (42)
|
Posté le: Mar Sep 13, 2016 1:09 pm Sujet du message: |
|
|
Bonjour VV,
| VV a écrit: |
En revanche, le système de référence de la localisation n'est pas cohérent avec les cotes encadrées (TED) que vous avez indiquées.
--> je le ressent mais je ne sais pas pourquoi. |
La raison est géométrique et n'a rien à voir avec la cotation ISO GPS.
La zone de tolérance de localisation d'un plan par rapport à un autre correspond au volume compris entre 2 plans parallèles au plan de référence.
Si le plan tolérancé et le plan de référence sont parallèles, alors on peut définir une distance théorique entre eux et la zone de tolérance est entièrement définie.
Dans le cas contraire, alors on peut seulement définir un angle entre le plan tolérancé et le plan de référence, et la localisation est équivalente à une tolérance d'inclinaison. C'est pourquoi je dis qu'avec votre localisation, seule la TED de 32° est utile. Il faudra d'autres références pour pouvoir définir entièrement la zone de tolérance de la localisation.
Pour aller plus loin, je réitère mes questions :
- comment la pièce est-elle mise en position dans son assemblage ?
- à quoi sert le plan incliné au niveau de l'assemblage ?
Pour pouvoir continuer je vais supposer que la pièce est d'abord centrée sur le Ø16h7 (centrage long, liaison pivot, 4 degrés de liberté bloqués) puis en appui sur la face B (appui ponctuel, 1 degré de liberté bloqué). A noter qu'il reste un degré de liberté non bloqué (rotation autour de A), je suppose que c'est l'objet du plan incliné.
Dans ce cas, je préconise de localiser le plan incliné par rapport à [A|B] car cela respecte l'ordre de priorité des surfaces de mise en position de la pièce dans son assemblage et cela permet de définir une origine par rapport à laquelle le point d'intersection théorique entre le plan incliné et l'axe de référence A pourra être coté.
De cette manière, la zone de tolérance de localisation est entièrement définie (au degré de liberté en rotation près) et sa construction utilise 3 TED :
- l'angle de 32° ;
- la cote encadrée "XX" ;
- la cote de 0 implicite entre l'axe de référence A et le point d'intersection avec le plan incliné.
La cote "XX" et la cote de 0 implicite permettent de définir un point sur le plan tolérancé. La cote de 32° définit l'orientation du plan. Cela suffit pour construire un plan sans orientation figée autour de A.
| VV a écrit: |
| Si je met une localisation par rapport à [A|B] cela fait un repère orthogonale mais je ne vois pas où mettre la TED |
Là où vous les avez mises sur le schéma du bas. Les TED doivent permettre la construction géométrique (au sens mathématique) de la zone de tolérance.
Le seul problème sur votre schéma du bas, c'est le système de référence.
La tolérance d'inclinaison doit être indiquée seulement si elle est plus fine que la localisation.
Cordialement
_________________ Le temps est un mauvais maître mais le meilleur des serviteurs. |
|
| Revenir en haut de page |
|
 |
vvernein

Inscrit le: 19 Oct 2008 Messages: 23
|
Posté le: Sam Sep 24, 2016 10:34 am Sujet du message: |
|
|
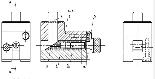
Bonjour, désolé pour le temps de réponse , je vous joins un dessin d'ensemble pour que vous voyer le contexte en PJ.
la cotation de la pièce 7 est l'objectif
cdt
VV
| Description: |
|
| Taille du fichier: |
44.05 Ko |
| Vu: |
1100 fois |

|
| Description: |
|
| Taille du fichier: |
44.05 Ko |
| Vu: |
1048 fois |

|
|
|
| Revenir en haut de page |
|
 |
Eric

Inscrit le: 13 Nov 2008 Messages: 182 Localisation: Roanne (42)
|
Posté le: Jeu Sep 29, 2016 1:03 pm Sujet du message: |
|
|
Bonjour,
Dans ce cas, les surfaces de mise en position sont le cylindre Ø16h7 et le plan incliné.
Le plan incliné ne peut recevoir qu'une tolérance d'inclinaison par rapport à la référence A (TED associée : angle de 32°).
Ensuite, il faut localiser le plan que vous avez appelé B par rapport à A et au plan incliné (TEDs associées : angle de 32°, cote encadrée XX, cote de 0 implicite).
Cordialement
_________________ Le temps est un mauvais maître mais le meilleur des serviteurs. |
|
| Revenir en haut de page |
|
 |
vvernein

Inscrit le: 19 Oct 2008 Messages: 23
|
Posté le: Mar Oct 04, 2016 3:35 pm Sujet du message: |
|
|
Merci pour la réponse , je prends une référence B sur une surface plane car c'est aussi une référence en usinage .
Quand vous écrivez : il faut localiser le plan que vous avez appelé B par rapport à A et au plan incliné (TEDs associées : angle de 32°, cote encadrée XX)
vous prenez le plan incliné comme référence (ce qui est le cas dans le mécanisme)
Puis-je faire le contraire pour "prendre de l'avance" sur le transfert de cote à l'usinage ?
cdt
VV
|
|
| Revenir en haut de page |
|
 |
Eric

Inscrit le: 13 Nov 2008 Messages: 182 Localisation: Roanne (42)
|
Posté le: Ven Oct 07, 2016 7:00 pm Sujet du message: |
|
|
Bonsoir,
| vvernein a écrit: |
| je prends une référence B sur une surface plane car c'est aussi une référence en usinage . |
-> Je ne suis pas d'accord, le plan de définition indique un besoin fonctionnel pour le contrôle.
| vvernein a écrit: |
Quand vous écrivez : il faut localiser le plan que vous avez appelé B par rapport à A et au plan incliné (TEDs associées : angle de 32°, cote encadrée XX)
vous prenez le plan incliné comme référence (ce qui est le cas dans le mécanisme)
Puis-je faire le contraire pour "prendre de l'avance" sur le transfert de cote à l'usinage ? |
Non parce que ce ne serait pas représentatif de la situation de la pièce dans son assemblage, or les spécifications de définition et le contrôle qui en découlent doivent assurer que l'assemblage sera fonctionnel.
D'après la vue d'ensemble en coupe que vous avez transmise, la pièce est mise en position d'abord par son diamètre extérieur puis par le plan incliné. Le système de référence utilisé doit être représentatif de cette mise en position réelle.
En effet, la position dans l'espace de la surface plane dépend de celles du diamètre extérieur et du plan incliné, et non l'inverse !
Il est évident que le fabricant cherchera à s'appuyer sur la surface plane lors de l'usinage, mais pour cela il doit faire un transfert de cotes.
Cordialement
_________________ Le temps est un mauvais maître mais le meilleur des serviteurs. |
|
| Revenir en haut de page |
|
 |
vvernein

Inscrit le: 19 Oct 2008 Messages: 23
|
Posté le: Lun Nov 21, 2016 6:28 pm Sujet du message: |
|
|
Bonjour, avec un peu de retard, je vous remercie pour toutes vos réponses
cdt
vv
|
|
| Revenir en haut de page |
|
 |